服务热线:150 0066 6432
一、H44J衬胶旋启式止回阀产品用途
沃茈阀门(上海)有限公司生产销售的H44J衬胶旋启式止回阀专用于控制强腐蚀性介质,阀体内腔表面覆有可供选择的各种氟塑料,具有强度高、耐腐蚀性能好的特点。适用于不同工作温度和流体管路,防止各类管路或设备上的介质逆流的单向启闭。
二、H44J衬胶旋启式止回阀阀门测试
衬里层:电火花检测
实验与检验按gb/t13927标准
公称压力:pn阀体:pn×1.5 密封:pn×1.1
三、H44J衬胶旋启式止回阀主要零件材料
上阀体:铸铁、球墨铸铁、碳钢 下阀体:铸铁、球墨铸铁、碳钢 衬里:氟塑料
阀瓣:碳钢完全包覆氟塑料
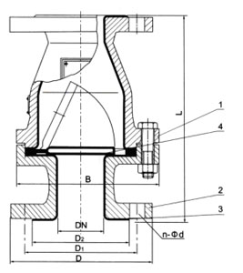
四、H44J衬胶旋启式止回阀部件列表
1、上阀体、2、下阀体3、阀体衬里4、阀瓣

五、H44J衬胶旋启式止回阀主要外形尺寸
公称通径 | 公称压力 | 工作压力 | l | d | d1 | d2 | n-фd | b | 质量 |
20 | 1.0 | 1.0 | 160 | 105 | 75 | 59 | 4-14 | 128 | |
25 | 160 | 115 | 85 | 68 | 4-14 | 128 | |||
32 | 180 | 140 | 100 | 78 | 4-18 | 150 | 4.5 | ||
40 | 200 | 150 | 110 | 88 | 4-18 | 160 | 7 | ||
50 | 230 | 165 | 125 | 102 | 4-18 | 178 | 8 | ||
65 | 290 | 185 | 145 | 122 | 4-18 | 205 | 10 | ||
80 | 310 | 200 | 160 | 133 | 8-18 | 230 | 18 | ||
100 | 350 | 220 | 180 | 158 | 8-18 | 255 | 24 | ||
125 | 400 | 250 | 210 | 184 | 8-18 | 305 | 30.5 | ||
150 | 480 | 285 | 240 | 212 | 8-22 | 345 | 47.5 | ||
200 | 500 | 340 | 295 | 268 | 8-22 | 415 | 63.5 | ||
250 | 0.6 | 0.6 | 550 | 395 | 350 | 320 | 12-22 | 495 | 96.5 |
300 | 0.4 | 620 | 445 | 400 | 370 | 12-22 | 540 | 14 | |
350 | 698 | 505 | 460 | 430 | 16-22 | 620 | 244 | ||
400 | 787 | 565 | 515 | 482 | 16-22 | 680 |