z41x rising stem soft seal gate valve product overview
z41x rising stem soft seal gate valve produced and sold by woci valve group addition to the advantages of the elastic seat gate valve, and can be more intuitive display valve opening, opening and closing quickly and reliably, it is often used in fire and industrial systems. generally installed at a higher position from the ground. i plant the introduction of european high-tech valve manufacturing technology produced by the seat block valve, the use of the whole door plastic deformation generated deformation effect to achieve a good sealing effect, to overcome the poor general valve seal, leakage and rust phenomenon. it can be widely used as a regulating and intercepting device in fluid lines such as tap water, sewage, construction, petroleum, chemical, food, medicine, light injury, electric power, shipping, metallurgy and energy system.
z41x rising stem soft seal gate valve characteristic 1, the overall plastic package: the gate with the overall plastic package, its good coverage and precise geometric dimensions to ensure reliable sealing, life expectancy. 2, light weight: made of ductile iron body, light weight, easy to install. 3, flat bottom valve seat: the bottom of the same flat-type valve seat with water pipe design, does not produce debris siltation, sealing more reliable. 4, corrosion-resistant: cavity non-toxic epoxy coating to prevent corrosion and rust, not only for drinking, but also for the sewage system. 5, three "0" seal: the stem adopts three 0-ring seal, friction resistance, light switch, watertight.
third, open-rod soft seal gate valve main performance parameters
| pressure level | 1.0 mpa, 1.6 mpa, 2.5 mpa |
| body pressure | 1.5mpa, 2.4mpa, 3.75mpa |
| seal test | 1.1 mpa, 1.76 mpa, 2.75 mpa |
| operating temperature | 0 ~ 80 ℃ |
| suitable media | water |
z41x rising stem soft seal gate valve parts of the main material
| serial number | name | material | serial number | name | material |
| 1 | body | ductile iron | 8 | thrust pad | tin bronze |
| 2 | gate | ductile iron coated epdm | 9 | sleeve | tin bronze |
| 3 | bolt | galvanized | 10 | bolt | galvanized |
| 4 | sealing ring | nbr | 11 | shaft cover | ductile iron |
| 5 | cap | ductile iron | 12 | dust cover | nbr |
| 6 | valve stem | stainless steel | 13 | handwheel | cast iron |
| 7 | "o" ring | nbr | 14 | tighten the nut |
|
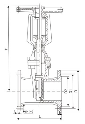
z41x rising stem soft seal gate valve main dimensions of connection

dn | 50 | 65 | 80 | 100 | 125 | 150 | 200 | 250 | 300 | 350 | 400 |
l | 178 | 190 | 203 | 229 | 254 | 267 | 292 | 330 | 356 | 381 | 406 |
ha | 322 | 332 | 350 | 420 | 581 | 581 | 736 | 882 | 1009 | 1300 | 1380 |
hc | 374 | 398 | 429 | 524 | 721 | 736 | 942 | 1031 | 1117 | 1655 | 1805 |