z41f46 fluorine lined gate valve product usage
z41f46 fluorine lined gate valve produced and sold by woci valve group is designed to control strong corrosive medium, the body cavity surface covered with a variety of fluoroplastics available for different operating temperatures and fluid lines, with high strength, good corrosion resistance.
z41f46 fluorine lined gate valve test
lining: edm testing and testing according to gb / t13927 standard nominal pressure: pn body: pn × 1.5 seal: pn × 1.1
z41f46 fluorine lined gate valve main part material
body: cast iron, carbon steel, stainless steel, ultra-low carbon stainless steel bonnet: cast iron, carbon steel, stainless steel, ultra-low carbon stainless steel
lining: fluoroplastic valve plate: carbon steel fully coated fluoroplastic bracket: carbon steel
stem: 2cr13 1cr18ni9, partially coated fluoroplastic hand wheel: cast iron, carbon steel
z41f46 fluorine lined gate valve parts list
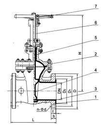
1, valve body 2, valve cover 3, body lining 4, gate 5, valve stem 6, bracket 7, handwheel note: l value in the table dn≤32 by jb97 pn4.0mpa.dn ≥40 by gb12221 long series .
z41f46 fluorine lined gate valve main dimension

| nominal diameter | l | d | d1 | ||||||||||
dn | nps | 0.6 | 1.0 | 1.6 | 2.5 | 0.6 | 1.0 | 1.6 | 2.5 | 0.6 | 1.0 | 1.6 | 2.5 |
15 | 1/2 | 130 | 130 | 130 | 130 | 80 | 95 | 95 | 95 | 55 | 65 | 65 | 65 |
20 | 3/4 | 150 | 150 | 150 | 150 | 90 | 105 | 105 | 105 | 65 | 75 | 75 | 75 |
25 | 1 | 160 | 160 | 160 | 160 | 100 | 115 | 115 | 115 | 75 | 85 | 85 | 85 |
32 | 11/4 | 180 | 180 | 180 | 180 | 120 | 135 | 135 | 135 | 90 | 100 | 100 | 100 |
40 | 11/2 | 240 | 240 | 240 | 240 | 130 | 145 | 145 | 145 | 100 | 110 | 110 | 110 |
50 | 2 | 250 | 250 | 250 | 250 | 140 | 160 | 160 | 160 | 110 | 125 | 125 | 125 |
65 | 21/2 | 270 | 270 | 270 | 270 | 160 | 180 | 180 | 180 | 130 | 145 | 145 | 145 |
80 | 3 | 280 | 280 | 280 | 280 | 185 | 195 | 195 | 195 | 150 | 160 | 160 | 160 |
100 | 4 | 300 | 300 | 300 | 300 | 205 | 215 | 215 | 230 | 170 | 180 | 180 | 190 |
125 | 5 | 325 | 325 | 325 | 325 | 235 | 245 | 245 | 270 | 200 | 210 | 210 | 220 |
150 | 6 | 350 | 350 | 350 | 350 | 260 | 280 | 280 | 300 | 225 | 240 | 240 | 250 |
200 | 8 | 400 | 400 | 400 | 400 | 315 | 335 | 335 | 360 | 280 | 295 | 295 | 310 |
250 | 10 | 450 | 450 | 450 | 450 | 370 | 390 | 405 | 425 | 335 | 350 | 355 | 370 |
300 | 12 | 500 | 500 | 500 | 500 | 435 | 440 | 460 | 485 | 395 | 400 | 410 | 430 |
350 | 14 | 550 | 550 | 550 | 485 | 500 | 520 | 445 | 460 | 470 | |||
400 | 16 | 600 | 600 | 600 | 535 | 565 | 580 | 495 | 515 | 525 | |||
450 | 18 | 650 | 650 | 650 | 590 | 615 | 640 | 550 | 565 | 585 | |||
500 | 20 | 700 | 700 | 700 | 640 | 670 | 705 | 600 | 620 | 650 | |||