h76h/w clamp connection double disc swing check valve features
1, the product structure of short length, small size, light weight.
2, the sealing flap can be selected according to different working conditions, soft sealing or hard sealing material, good sealing performance.
3, horizontal or vertical pipe can be used, easy to install.
4, the valve closed quickly, water hammer pressure is small.
5, the material of parts and the valve end face form, size according to the actual conditions or user requirements reasonable matching, to meet the needs of various projects.
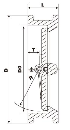
h76h/w clamp connection double disc swing check valve main dimensions

| pn | caliber | size (mm) | weight (kg) | piping flange (for reference) | |||||||||
| nps | dn | l | d | d 3 | d 2 | bolt hole center circle diameter d 1 | number of bolts | bolt diameter d | bolt length l 1 | ||||
| in | mm | rf | rj | ||||||||||
| class 150 pn2.0mpa | 2 | 50 | 60 | 103 | 56 | 51 | 2 | 120.5 | 4 | 5/8 | m16 | 140 | 155 |
| 2 1/2 | 65 | 67 | 122 | 73 | 65 | 3 | 139.5 | 4 | 5/8 | m16 | 150 | 165 | |
| 3 | 80 | 73 | 135 | 88 | 80 | 4 | 152.5 | 4 | 5/8 | m16 | 160 | 175 | |
| 4 | 100 | 73 | 173 | 108 | 102 | 6 | 190.5 | 8 | 5/8 | m16 | 170 | 185 | |
| 5 | 125 | 86 | 195 | 132 | 127 | 8 | 216.0 | 8 | 3/4 | m20 | 190 | 205 | |
| 6 | 150 | 98 | 220 | 160 | 152 | 13 | 241.5 | 8 | 3/4 | m20 | 205 | 220 | |
| 8 | 200 | 127 | 277 | 210 | 203 | 25 | 298.5 | 8 | 3/4 | m20 | 240 | 255 | |
| 10 | 250 | 146 | 337 | 266 | 254 | 39 | 362.0 | 12 | 7/8 | m24 | 270 | 285 | |
| 12 | 300 | 181 | 407 | 310 | 305 | 54 | 432.0 | 12 | 7/8 | m24 | 310 | 325 | |
| 14 | 350 | 184 | 448 | 355 | 350 | 80 | 476.0 | 12 | 1 | m27 | 325 | 340 | |
| 16 | 400 | 191 | 512 | 405 | 400 | 117 | 540.0 | 16 | 1 | m27 | 340 | 355 | |
| 18 | 450 | 203 | 547 | 455 | 450 | 138 | 578.0 | 16 | 1 1/8 | m30 | 365 | 380 | |
| 20 | 500 | 219 | 604 | 505 | 500 | 163 | 635.0 | 20 | 1 1/8 | m30 | 385 | 400 | |
| 24 | 600 | 222 | 715 | 605 | 600 | 331 | 749.5 | 20 | 1 1/4 | m33 | 405 | 420 | |
| 28 | 700 | 305 | 773 | 700 | 700 | 380 | 795.5 | 40 | 3/4 | m20 | 455 | - | |
| 30 | 750 | 305 | 824 | 750 | 746 | 425 | 846.0 | 44 | 3/4 | m20 | 455 | - | |
| 32 | 800 | 305 | 878 | 800 | 796 | 560 | 900.0 | 48 | 3/4 | m20 | 460 | - | |
| 36 | 900 | 368 | 983 | 910 | 898 | 640 | 1009.5 | 44 | 7/8 | m24 | 540 | - | |
| 42 | 1050 | 432 | 1142 | 1055 | 1050 | 960 | 1171.5 | 48 | 1 | m27 | 625 | - | |
| 48 | 1200 | 524 | 1302 | 1205 | 1200 | 1400 | 1335.0 | 44 | 1 1/8 | m30 | 740 | - | |
| class 300 pn5.0mpa | 2 | 50 | 60 | 110 | 58 | 51 | 3 | 127.0 | 8 | 5/8 | m16 | 155 | 175 |
| 2 1/2 | 65 | 67 | 128 | 73 | 65 | 4 | 149.0 | 8 | 3/4 | m20 | 175 | 195 | |
| 3 | 80 | 73 | 147 | 88 | 80 | 6 | 168.5 | 8 | 3/4 | m20 | 190 | 210 | |
| 4 | 100 | 73 | 179 | 108 | 102 | 8 | 200.0 | 8 | 3/4 | m20 | 195 | 215 | |
| 5 | 125 | 86 | 214 | 132 | 127 | 15 | 235.0 | 8 | 3/4 | m20 | 215 | 235 | |
| 6 | 150 | 98 | 249 | 160 | 152 | 18 | 270.0 | 12 | 3/4 | m20 | 230 | 250 | |
| 8 | 200 | 127 | 305 | 210 | 203 | 31 | 330.0 | 12 | 7/8 | m24 | 280 | 300 | |
| 10 | 250 | 146 | 359 | 266 | 254 | 51 | 387.5 | 16 | 1 | m27 | 315 | 335 | |
| 12 | 300 | 181 | 420 | 310 | 305 | 77 | 451.0 | 16 | 1 1/8 | m30 | 365 | 385 | |
| 14 | 350 | 222 | 483 | 355 | 350 | 117 | 514.5 | 20 | 1 1/8 | m30 | 410 | 430 | |
| 16 | 400 | 232 | 537 | 405 | 400 | 190 | 571.5 | 20 | 1 1/4 | m33 | 435 | 455 | |
| 18 | 450 | 264 | 594 | 455 | 450 | 200 | 628.5 | 24 | 1 1/4 | m33 | 475 | 535 | |
| 20 | 500 | 292 | 652 | 505 | 500 | 265 | 686.0 | 24 | 1 1/4 | m33 | 510 | 585 | |
| 24 | 600 | 318 | 772 | 608 | 600 | 410 | 813.0 | 24 | 1 1/2 | m39 | 560 | - | |
| 30 | 750 | 368 | 882 | 740 | 735 | 660 | 921.0 | 36 | 1 3/8 | m36 | 650 | - | |
| 36 | 900 | 483 | 1044 | 880 | 873 | 1020 | 1089.0 | 32 | 1 5/8 | m42 | 800 | - | |
| 42 | 1050 | 568 | 1196 | 1045 | 1035 | 1540 | 1244.5 | 36 | 1 3/4 | m45 | 920 | - | |
| 48 | 1200 | 629 | 1365 | 1190 | 1179 | 2260 | 1416.0 | 40 | 1 7/8 | m48 | 1010 | - | |