服务热线:150 0066 6432
一、沃茈阀门(上海)有限公司生产销售的Q61F焊接钢制球阀产品用途:
1、城市燃气:燃气输出管道、主干线及各支线供应管道等。
2、集中供热:大型供热设备输出管线、主干线、支线。
3、热交换机:管道及各回路启闭。
4、钢 铁 厂:各种流体管道、废气排放管道、煤气和热力供应管道、燃料供应管道。
5、各种工业设备:各种热处理管道、各种工业煤气和热力管道。
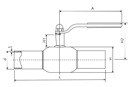
二、Q61F焊接钢制球阀主要连接尺寸:

dn | 公称直径 bore | dh | d | t | l | h1 | h2 | a | 重量kg |
a/b | |||||||||
50 | 40 | 89 | 60.3/57 | 4 | 300 | 35 | 135 | 180 | 4 |
65 | 50 | 108 | 76.1/76 | 4 | 300 | 35 | 144 | 275 | 5.2 |
80 | 65 | 133 | 88.9/89 | 5 | 300 | 44 | 154 | 275 | 6.3 |
100 | 80 | 159 | 114.6/108 | 5 | 325 | 50 | 193 | 365 | 11 |
125 | 100 | 193 | 139.7/133 | 5 | 325 | 42 | 218 | 365 | 16 |
150 | 125 | 219 | 168.3/159 | 6 | 350 | 83 | 343 | 650 | 24 |
200 | 150 | 273 | 219/219 | 7 | 400 | 84 | 345 | 800 | 39 |