服务热线:150 0066 6432
一、D71X铝合金无销手柄蝶阀产品说明
沃茈阀门(上海)有限公司生产销售的D71X铝合金无销手柄蝶阀该产品由橡胶密封蝶阀和碳钢或不锈钢阀板、阀杆构成。适用于温度≤80~120℃如食品、医药、化工、石油、电力、轻纺、造纸等给排水、气体管道上作调节流量和截流介质的作用。
二、D71X铝合金无销手柄蝶阀-产品特点
1、设计新颖、结构合理,重量轻,启闭迅速。
2、操力矩小,操作方便,省力灵巧。
3、可以任何位置安装,维修方便。
4、密封件可以更换,密封性能可靠达到双向密封零泄漏。
5、密封材料耐老化、耐弱腐蚀,使用寿命长等特点。
三、蝶阀密封材料选用和适用温度
材料品种 | 氯丁橡胶 | 丁晴橡胶 | 乙丙橡胶 | 聚四氟乙烯 | 硅橡胶 | 氟橡胶 | 天然橡胶 | 尼龙 |
英语简称 | cr | nbr | epdm | ptfe | si | viton | nr | pa |
型号代号 | x或j | xa或ja | xb或jb | f或xc、jc | xd或jd | xe或je | x1 | n |
耐最高温度 | 82℃ | 93℃ | 150℃ | 232℃ | 250℃ | 204℃ | 85℃ | 93℃ |
耐最低温度 | -40℃ | -40℃ | -40℃ | -268℃ | -70℃ | -23℃ | -20℃ | -73℃ |
适用工作温度 | 0~+80℃ | -20~+82℃ | -40~+125℃ | -30~+150℃ | -70~+150℃ | -23~+150℃ | -20~+85℃ | -30~+93℃ |
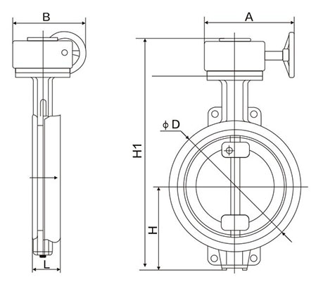
四、D71X铝合金无销手柄蝶阀外形尺寸

公称通径(dn) | l | d1 | d | z-φd | h | h0 | a | b |
50 | 43 | 125 | 165 | 4-18 | 63 | 315 | 180 | 65 |
65 | 46 | 145 | 185 | 4-18 | 70 | 330 | 180 | 65 |
80 | 46 | 160 | 200 | 8-18 | 83 | 390 | 245 | 72 |
100 | 52 | 180 | 220 | 8-18 | 105 | 431 | 245 | 72 |
125 | 56 | 210 | 250 | 8-18 | 115 | 455 | 245 | 72 |
150 | 56 | 240 | 285 | 8-22 | 137 | 626 | 355 | 93 |
200 | 60 | 295 | 340 | 8-22 | 164 | 720 | 350 | 93 |
250 | 68 | 350 | 395 | 12-22 | 206 | 800 | 550 | 350 |
300 | 78 | 400 | 445 | 12-22 | 230 | 860 | 600 | 350 |
350 | 78 | 460 | 505 | 16-22 | 248 | 883 | 600 | 350 |
400 | 102 | 515 | 565 | 16-26 | 289 | 972 | 600 | 350 |
450 | 114 | 565 | 615 | 20-26 | 320 | 1043 | 750 | 380 |
500 | 127 | 620 | 670 | 20-26 | 343 | 1098 | 750 | 380 |
600 | 154 | 725 | 780 | 20-30 | 413 | 1236 | 750 | 380 |
700 | 165 | 840 | 895 | 24-30 | 478 | 1431 | 750 | 380 |
800 | 190 | 950 | 1015 | 24-33 | 525 | 1488 | 750 | 380 |